Почта:

Пароль:

Запомнить меня
Напомнить пароль

Canon – лупа, превращающая часть дисплея камеры в ЭВИ

Главная / Новости / Прочее
Canon приходят в голову весьма неожиданные идеи насчет того, как можно использовать столь высокую плотность.
07.11.2015
Photonews
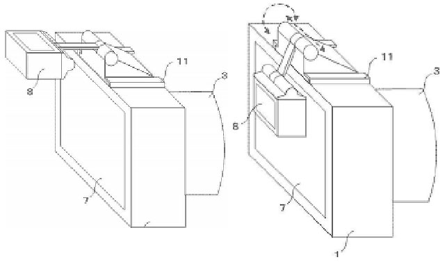
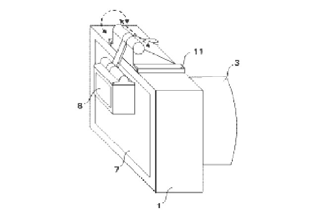
Недавно опубликованный патент показывает видоискатель, который по сути является прямоугольным увеличительным стеклом, которое помещается поверх ЖК-дисплея. Та часть дисплея, которая оказывается под этим «видоискателем», начинает отображать полный кадр, «информацию для видоискателя».
Получается своеобразный бюджетный электронный видоискатель. Вместо того, чтобы встраивать два отдельных дисплея в камеру – один большой ЖКИ на задней панели и один маленький внутри ЭВИ – идея Canon позволит использовать ЖК-дисплей для обеих целей. Камера получится существенно дешевле, а фотолюбители смогут выбирать – либо использовать полный дисплей, либо смотреть в «окуляр видоискателя», что может оказаться предпочтительнее на ярком солнце, когда картинка на большом дисплее читается плохо.
 
 Когда «видоискатель» оказывается в рабочем положении (поверх дисплея), камера распознает эту ситуацию, автоматически переключает режим отображения и начинает показывать содержимое полного экрана внутри того прямоугольника, который попадает под увеличительное стекло.
Целесообразность такого подхода будет возрастать по мере того, как будет увеличиваться разрешение ЖК-дисплея.



Комментарии /
Дополнительно /
Еще никто не нажал "Мне нравится" :(
Будьте первым: Войдите или зарегистрируйтесь


Новости по теме /
17.05.2017
Интервью Sony: Наша цель в увеличении рынка!
26.03.2017
Самая быстрая в мире SD-карта Sony SF-G
26.03.2017
Pixlplay для смартфонов - подарок для детей и их родителей
26.03.2017
FILM Ferrania P30
20.03.2017
Google получил патент на кепку со встроенной камерой
Зарегистрироваться
О проекте
Забыли пароль?
Copyright © 2011 Photonews